Bai Jingting successfully registered the trademark of "another price"
progress of trademark application (education and entertainment classification) < /p > < /p >

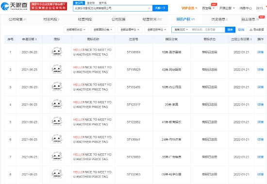
the trademark application status

progress of trademark application (education and entertainment classification) < /p >
< /p >

trademark application progress (advertising sales classification) < /p >
< /p >
according to tianyancha app, recently, the status of several" Hello! Nice to meet you other price tag "trademarks applied for registration by Beijing leben film and television culture media Co., Ltd., an affiliate of baijingting, has changed to registered.
it is reported that the relevant trademark registration application date is June 23, 2021, and the international classification includes advertising sales, education and entertainment, etc. in addition, there are many related trademarks in the status of" preliminary review announcement "and" pending substantive review ".
in addition, the" other price "in the trademark means" another price "in Chinese, which is a stem created by Bai Jingting when recording a variety show. This stem has aroused widespread dissemination and discussion.
白羊座
金牛座
双子座
巨蟹座
狮子座
处女座
天秤座
天蝎座
射手座
摩羯座
水瓶座
双鱼座